Product Summary
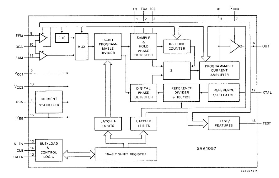
The SAA1057 is a radio tuning PLL frequency synthesizer. The SAA1057 is a single chip frequency synthesizer IC in I2L technology, which performs all the tuning functions of a PLL radio tuning system. The IC is applicable to all types of radio receivers, e.g. car radios, hi-fi radios and portable radios.
Parametrics
SAA1057 absolute maximum ratings: (1)Supply voltage ranges VCC: 3.6 to 12 V; (2)Supply currents ICC1 + ICC2 typ.: 18 mA; (3)ICC3 typ.: 0.8 mA; (4)Input frequency ranges at pin FAM fFAM: 512 kHz to 32 MHz; (5)at pin FFM fFFM 70 to: 120 MHz; (6)Maximum crystal input frequency fXTAL > 4 MHz; (7)Operating ambient temperature range Tamb: -25 to + 80 ℃.
Features
SAA1057 features: (1)On-chip programmable current amplifier (charge pump) to adjust the loop gain; (2)Only one reference frequency for both AM and FM; (3)High signal purity due to a sample and hold phase detector for the in-lock condition; (4)High tuning speed due to a powerful digital memory phase detector during the out-lock condition; (5)Tuning steps for AM are: 1 kHz or 1,25 kHz for a VCO frequency range of 512 kHz to 32 MHz; (6)Tuning steps for FM are: 10 kHz or 12,5 kHz for a VCO frequency range of 70 MHz to 120 MHz; (7)Serial 3-line bus interface to a microcomputer; (8)Test/features.
Diagrams

| Image | Part No | Mfg | Description | ![]() |
Pricing (USD) |
Quantity | ||||||||||||
|---|---|---|---|---|---|---|---|---|---|---|---|---|---|---|---|---|---|---|
![]() |
![]() SAA1057 |
![]() Other |
![]() |
![]() Data Sheet |
![]() Negotiable |
|
||||||||||||
| Image | Part No | Mfg | Description | ![]() |
Pricing (USD) |
Quantity | ||||||||||||
![]() |
![]() SAA1027 |
![]() Other |
![]() |
![]() Data Sheet |
![]() Negotiable |
|
||||||||||||
![]() |
![]() SAA1029 |
![]() Other |
![]() |
![]() Data Sheet |
![]() Negotiable |
|
||||||||||||
![]() |
![]() SAA1042 |
![]() Other |
![]() |
![]() Data Sheet |
![]() Negotiable |
|
||||||||||||
![]() |
![]() SAA1057 |
![]() Other |
![]() |
![]() Data Sheet |
![]() Negotiable |
|
||||||||||||
![]() |
![]() SAA1064 |
![]() Other |
![]() |
![]() Data Sheet |
![]() Negotiable |
|
||||||||||||
![]() |
![]() SAA1064/N2,112 |
![]() NXP Semiconductors |
![]() LED Display Drivers LED DRVR 4DGT W/I2C |
![]() Data Sheet |
![]()
|
|
||||||||||||
(Hong Kong)










